电 话:028-86751041-8004
联系人:王倩
手 机:15308020014
地 址: 中国 上海 嘉定区嘉涌路99弄6号713

更新时间:2022-11-18 浏览数:50
所属行业:机械设备> 液压密封装置> 蓄能器
发货地址:
产品规格:--
产品数量:1
包装说明:--
单 价:面议
REXROTH液压蓄能器操作说明

液压活塞式蓄能器
标准活塞?360和500毫米(可根据要求提供其他直径)
可变长度达5500毫米
工作温度:-20°C ... + 60°C
大活塞速度:3500毫米/秒
大操作压力:客户特定(根据要求)
简介
该蓄能器包括缸筒,安装在缸筒内的活塞,及分别固定在缸筒两端的油侧连接法兰和气侧连接法兰;所述油侧连接法兰上设有油孔;所述气侧连接法兰上设有充气嘴,所述活塞上沿轴向依次设有一圈导向带沟槽、一圈储油槽、一圈密封沟槽、一圈储气槽、一圈导向带沟槽,且在两个导向带沟槽中均设有导向带,在密封沟槽中设有组合密封件;活塞的两端各设有一单向阀,其中一个单向阀的进口连通活塞柱面的储油槽,该单向阀的出口连通油腔,另一个单向阀的进口连通活塞柱面的储气槽,该单向阀的出口连通气腔。本发明提供的蓄能器,有效避免气体渗入油液
主要组成部件
活塞、缸筒、端盖(油口端与氮气端)
活塞的封闭端面承受工作流体的压力,并与缸盖、缸壁构成燃烧室或压缩容积。活塞上装有活塞环或胶质密封圈以防止流体泄漏。活塞可用铸铁、锻钢、铸钢或铝合金等材料制造。在内燃机中,为了减小活塞的质量和惯性力。
端盖
油缸缸盖体的里端内腔依次设有挡环、挡污环、密封圈、轴套和挡圈;油缸缸盖体的外端外面设有O型圈;油缸缸盖体的一侧设有油路接口;其要点在于所述密封圈和轴套之间设有缓冲密封圈,挡圈的外侧设有与油道接口连通的缓冲腔,在油缸缸盖体的另一侧设有与缓冲腔连通的节流阀连接孔,节流阀连接孔里端设有缓冲油路。本实用新型解决了现有技术存在液压油流失及密封圈使用寿命短的技术问题,从而提高了油缸活塞的使用寿命。
其它:皮囊式蓄能器
产品描述
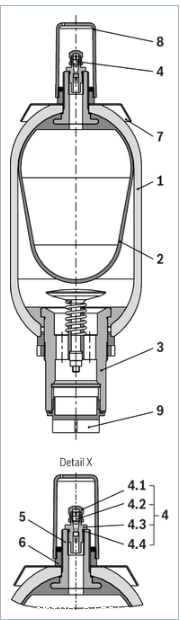
气囊式蓄能器由高强度钢制成的无缝圆筒形压力容器(1)组成。安装在容器内部的弹性囊(2)将蓄积器分成气体侧和流体侧。
通过气阀(4),气囊充满氮气,达到预期的充气压力p 0。
如果气体侧的压力高于流体侧,则位于气囊式储液器的油口内的油阀(3)关闭。这可以防止气囊进入油道并被破坏。
当达到小工作压力时,在气囊和油阀之间应保持小流体容积(大约为液压蓄能器额定容积的10%),以防止气囊在每次膨胀过程中撞击阀门。
燃气阀(4)由密封帽(4.1),燃气阀芯(4.2),燃气预充阀体(4.3)和O形圈(4.4)组成。这些部件可以单独更换。
类型帽(7)包括液压蓄能器的技术数据和特征。

1集装箱
2皮囊
3油阀
4燃气阀门
5.气阀支持
6坚果
7类型帽
8盖帽
9油阀的保护盖
型号
R901437540 R901438250 R901438280 R901438290
R901437541 R901438251 R901438280 R901438290
R901437542 R901438234 R901438252 R901438280
R901438290 R901438270 R901437543 R901438253
R901438280 R901438290 R901438270
上海乾拓贸易有限公司
企业QQ: 2880626085
直线电话:
直线传真:
手机;(微信)
邮箱: @163.com
联系人:郑娜
地址:上海嘉定区嘉涌路99弄6号楼713
REXROTH液压蓄能器操作说明