电 话:021-39526589-8004
联系人:章莹玲
手 机:18918574312
地 址: 中国 上海 嘉定区嘉涌路99弄6号713

德国力士乐进口流量控制器

产品特征:
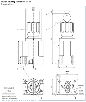
油口安装面符合 DIN 24340 形式 A
底板(单独订购)
单向阀,可选
2 种调整类型,可选:
- 带刻度旋钮
- 带刻度可锁定旋钮
产品说明
一般信息
2 FRM 型流量控制阀是一种二通流量控制阀。
它用于保持流量稳定,而不受压力和温度的影响。
这种阀的基本构成为壳体 (1)、旋钮 (2)、
节流孔衬套 (3)、压力补偿器 (4) 和可选的单向阀。
2FRM 6 B…MV
型流量控制阀(不带 外部闭合, 不带 单向阀)
从通道 A 到通道 B 的流量在节流点 (5) 处节流。
节流剖面通过转动旋钮 (2) 进行设置。
底板安装:
阀安装螺钉 (单独订购)
不带整流器叠加阀板
4 颗内六角螺钉
ISO 4762 - M5 x 30 - 10.9-flZn-240h-L
当摩擦系数为 μ总计 = 0.09 至 0.14 时,
紧固扭矩 MA = 7 Nm ± 10 %,
物料号 R913000316
带整流器叠加阀板
4 颗内六角螺钉
规格原理:
ISO 4762 - M5 x 70 - 10.9-flZn-240h-L
当摩擦系数为 μ总计 = 0.09 至 0.14 时,
紧固扭矩 MA = 7 Nm ± 10 %,
物料号 R913000325
为确保通道 B 的流量保持稳定而不受压力的影响,
在节流点 (5) 的下游安装了一个压力补偿器 (4)。
没有流量流经阀门时,压缩弹簧 (6) 会向下按压力补偿器
(4) 至其停止点,使压力补偿器 (4) 保持在打开位置。
有液压油流经阀门时,作用于通道 A 的压力会通过节流孔 (7) 给压力补偿器 (4) 施加一个力。
压力补偿器 (4) 将进入控制位置,直到各个力实现平衡。
当通道 A 的压力上升时,压力补偿器 (4) 会朝闭合方向移动,
直到各个力再次达到平衡。正是压力补偿器
(4) 的这种持续的补偿动作才使系统获得了稳定的流量。
为了通过阀门控制两个方向上的流量,
可以在此流量控制阀下安装一个 Z4S 6 型整流器叠加阀板。


德国力士乐进口流量控制器