电 话:028-86751041-8004
联系人:王倩
手 机:15308020014
地 址: 中国 上海 嘉定区嘉涌路99弄6号713

更新时间:2022-11-18 浏览数:49
所属行业:机械设备> 泵(机械、工业制品、行业设备)> 柱塞泵
发货地址:
产品规格:--
产品数量:1
包装说明:--
单 价:面议
德国力士乐REXROTH先导式叶片泵主要特征及方法

特性:
可变排量
低工作噪音
流体动力润滑的滑动轴承延长了轴承的使用寿命
压力和流量的闭环控制可能性
低滞后
极低的开机控制时间和停机控制时间
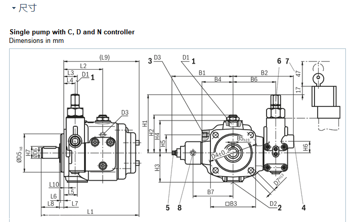
安装和连接尺寸符合 VDMA 24560/1 和 ISO 3019-2
适用于 HETG 和 HEES 介质
组合泵可以由 PV7 系列标准单级泵灵活组合而成
PV7 泵仍与内啮合齿轮、轴向柱塞泵和径向柱塞泵组合使用

机座大小 10, 16, 25, 40, 63, 100
规格 14 … 150
组件系列 1X
大工作压力 160 bar
大排量 150 cm3
调节
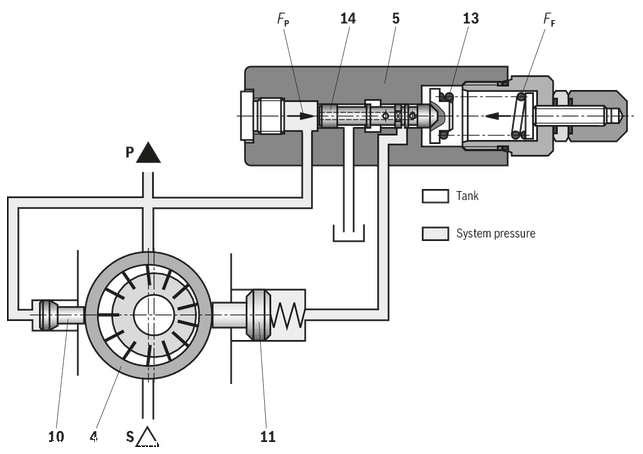
随着压力在系统中积聚,小型控制柱塞 (10) 的后侧始终通过通道向系统压力加压。
在排放位置,大型控制柱塞 (11) 的后侧也通过控制阀芯 (14) 中的孔向系统压力加压。具有较大面积的控制活塞 (11) 将定子环 (4) 保持在其偏心位置。
泵以低于压力控制器 (5) 上设定的零行程压力的压力排出液压油。
控制阀芯 (14) 由弹簧 (13) 保持在某一位置。

德国力士乐REXROTH先导式叶片泵主要特征及方法