电 话:028-86751041-8004
联系人:王倩
手 机:15308020014
地 址: 中国 上海 嘉定区嘉涌路99弄6号713

更新时间:2022-11-18 浏览数:36
所属行业:化工> 阀门> 角阀
发货地址:
产品规格:--
产品数量:1
包装说明:--
单 价:面议
价格查询德国BOSCH单向阀,4WE6M-6X/EG24N9K4

特征:
用于垂直叠加的叠加阀
- 作为角阀
- 作为直通阀
油口安装面符合 ISO 4401-03-02-0-05
多种单通道和双通道阻塞功能
由于阀心采用高性能塑料制成,因此具有完美的密封性
防腐蚀设计
通过更换外部密封圈可轻松调节为用于特殊液压油
带测量油口,可选
可应要求作为单向节流阀提供
产品说明:
Z1S 型阀是一种采用叠加阀板设计的直动式单向阀。
它可用来无泄漏地阻塞一个方向上的流量,同时允许相反方向上的自由回流。
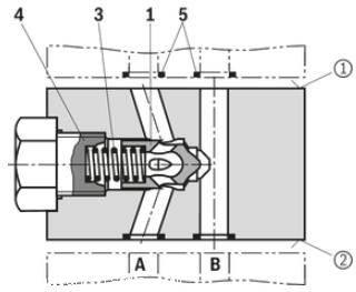
阀心 (1) 的行程受塑料弹簧座 (2) 的限制。已安装的弹簧 (3) 支持闭合运动。当没有液压油流通过阀门时,弹簧 (3) 将阀心 (1) 保持在闭合位置。
与直通阀(第 1 节)相比,角阀(第 2 节)多可以连通或关闭三个内部通道。由保护塞 (4) 实现止挡和密封功能。
注意:
对于蓝色塑料弹簧座 (2) 安装在阀板侧 ? 时采用的所有安装位置,均不会在此位置使用额外的密封圈!
在组件侧 ?,密封圈 (5)(常见)用于密封下游安装的装配。
已安装的塑料弹簧座 (2) 具有密封功能,不能予以拆除或损坏
第 1 节:型号 Z12 6 F(直通阀)

第 2 节:型号 Z1S 6 B-A(角阀)

规格 6
组件系列 4X
工作压力 350 bar
流量 40 l/min
价格查询德国BOSCH单向阀,4WE6M-6X/EG24N9K4